Microsoft nejspíše pracuje na malých přenosných ovladačích
Technologie Článek Microsoft nejspíše pracuje na malých přenosných ovladačích

Microsoft nejspíše pracuje na malých přenosných ovladačích

Radek Raudenský

Radek Raudenský

Inspirují se Joy-Cony.

Reklama

Microsoft se očividně nechal inspirovat Joy-Cony od Nintendo Switch a nechal si patentovat vlastní oddělitelné ovladače. Tento patent byl vyplněn již v roce 2017, americký patentový úřad jej zveřejnil až dnes.

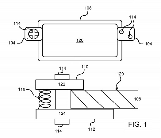
Samotný patent není přímo pro ovladače, ale jejich nabíjecí stanici. Diagram, který zobrazuje jeho použití, ale ukazuje i to, jak vypadají tyto ovladače. Půjdou připnout na dotykové zařízení a vyřeší tím problém s ovládáním.

A proč by to Microsoft dělal? Tento rok má následovat Google a vydat svou vlastní streamovací službu xCloud. Zatímco Google vydal „normální“ ovladač, Microsoft má svůj vychytaný Xboxový ovladač. Pokud by tyto malé ovladače byly levnější, jde o skvělý způsob, jak hrát i na cestách bez nutnosti tahat „velký“ controller

Microsoft nejspíše pracuje na malých přenosných ovladačích

Microsoft nejspíše pracuje na malých přenosných ovladačích


Reklama
Reklama

Komentáře

Nejsi přihlášený(á)

Pro psaní a hodnocení komentářů se prosím přihlas ke svému účtu nebo si jej vytvoř.

Rychlé přihlášení přes:

Reklama
Reklama
Reklama